Make Way for the 2020 iPhone
Although speculations about the 2019 iPhones are at their peak during this time of the year, many tech…
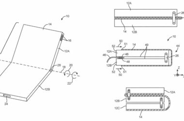
Opinion: Apple, Where Is My Foldable Phone?
Folding iPhones are something the tech community has been looking forward to since Samsung’s debut of flexible OLED…
The Apple Watch Is the Most Innovative Device Made by Apple
Apple’s release of its first smartwatch on April 24, 2015, proved that it was able to nail its…